Springe auf Hauptinhalt Springe auf Hauptmenü Springe auf SiteSearch
Verglasungsregeln europäisch genormt

Verklotzen nach EU-Norm – ist es bald so weit?

_ Es kommt relativ selten vor, dass eine europäische Norm erarbeitet wird, ohne dass es dafür schon nationale Normen oder Richtlinien gibt. Entsprechend groß war der Aufwand und Erklärungsbedarf der Vertreter nationaler Interessenverbände im EU-Normungsausschuss „Verglasungsregeln“.

Die Vertreter der betroffenen deutschen Fachverbände haben hier kontinuierlich aktiv mitgearbeitet und mitgestaltet. Über die prEN 12488:2014 „Glas im Bauwesen – Empfehlungen für die Verglasung“ wird derzeit abgestimmt, ob sie in die Umfrage übergeben wird. Erst wenn diese Hürden genommen sind, wird der Entwurf veröffentlicht.

Zunächst waren zwei verschiedene Normen geplant. DIN EN ISO 14439 „Glas im Bauwesen Anforderungen für die Verglasung Verglasungsklötze“ und die Entwürfe der EN 12488, Teil 1 und Teil 2, „Glas im Bauwesen – Anforderungen an die Verglasung Verglasungsrichtlinien“.

Da sich einige Abschnitte und Inhalte der Normen überschnitten hätten und das Verständnis durch das Zusammenführen der Normen gefördert wurde, entschied man 2011 im Normenausschuss nur noch eine Norm zu erstellen. Die nun vorliegende prEN 12488 ist wie häufig ein Kompromiss, um alle Interessen zu berücksichtigen. Dies trifft hier in besonderem Maße zu, da der Einbau von Glas in nahezu allen europäischen Mitgliedstaaten derzeit ausschließlich auf Erfahrung und handwerklichen Erkenntnissen und keiner ingenieurmäßigen Bemessung bzw. Betrachtung beruht. Dazu kommen zum Teil sehr unterschiedliche Arten des Fensterbaus in den einzelnen EU-Staaten.

Die Produktnorm als Auslöser

Im Rahmen der Erarbeitung der prEN 12488 war es somit erforderlich, die jeweiligen nationalen Gegebenheiten der Mitgliedstaaten sowie die traditionellen Unterschiede in der Verglasungstechnik zu berücksichtigen.

Gegenstand der Norm ist die Festlegung von Regeln für die Verglasung, sowie Empfehlungen zur Auswahl geeigneter Materialien für den Einsatz von im Fensterrahmen gehaltenem Glas. Dabei werden in der Norm teilweise nur sehr allgemeine Angaben gemacht. So wird zum Beispiel der Glasfalz eines Fensters mit seinen Bestandteilen anhand von Skizzen näher beschrieben. Die einzuhaltenden notwendigen Maße, wie der erforderliche Glaseinstand, können dann den nationalen Regelwerken entnommen werden. In Deutschland ist dies in den aktuellen Anforderungen der DIN 18545 geregelt.

In Abschnitt 4 der prEN12488 werden die grundsätzlichen Anforderungen, die an ein Verglasungssystem gestellt werden, beschrieben. Wesentlich im Zusammenhang mit Verglasungssystemen ist beispielsweise, dass die Kanten von Verbundglas oder Verbundsicherheitsglas sowie von Mehrscheiben-Isolierglas nicht dauerhaft Feuchtigkeit oder Wasser ausgesetzt werden dürfen.

In der EU-Norm wird, wie in den nationalen Regelwerken ebenfalls beschrieben, zunächst einmal gefordert, dass notwendige Öffnungen zum Dampfdruckausgleich und zur Entwässerung vorhanden sein müssen.

Wasserdichtigkeit bedeutet in diesem Zusammenhang nicht, dass kein Wasser in die Konstruktion eindringen darf. Es ist nur wichtig, dass dieses, wenn es einmal eingedrungen ist, unverzüglich wieder abgeführt werden kann. Eine Planung der Gebäudeentwässerung durch den Falzraum ist jedoch nicht zulässig.

Das Glas übernimmt keine Last

Weiterhin wird auf die notwendige Stabilität der Profile/Glasauflager von Fenster- und Fassadensystemen verwiesen. Es wird hier deutlich gemacht, dass die Glaseinheit ein ausfachendes Element ist und nicht zur Verbesserung der Stabilität der genannten Systeme dienen soll.

Ein weiterer wichtiger Aspekt in Bezug auf die Dauerhaftigkeit ist die Verträglichkeit der eingesetzten Materialien in direktem oder indirektem Kontakt zueinander. Zudem wird in Abschnitt 4 auf weitere, die Dauerhaftigkeit beeinflussende Belastungen verwiesen. Zum Beispiel können erhöhte thermische Belastungen der Verglasungseinheit zur Beschädigung oder zum Glasbruch führen.

Auch die Dimensionierung der Fensterprofile muss stimmen

Abschnitt 5 der prEN 12488 beschreibt dann die Anforderungen an die Bestandteile eines Verglasungssystems. Dazu gehören zum Beispiel die richtige Dimensionierung der Fenster- und Fassadenprofile in Bezug auf den Einsatzbereich, die zu erwartenden Belastungen oder auch die klimatischen Verhältnisse am Einbauort.

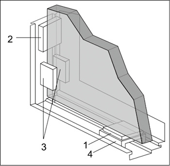
Weiterhin werden die Anforderungen an die Auswahl und den Einsatz von Dichtstoffen, Dichtprofilen oder auch Verglasungskitt beschrieben. Einer der wichtigsten Abschnitte ist die Beschreibung des Einsatzes und die Anwendung von Verglasungsklötzen.

Wesentlich ist unter anderem, dass es jetzt bei den Klötzen mehr als die bisherigen beiden Funktionen gibt. Grafik 01 zeigt die Klötze, die im Rahmen der prEN 12488 beschrieben werden.

Die Funktion der Lastabtragung erfüllt weiterhin der Tragklotz. Daneben gibt es immer noch, wie bisher in den nationalen Regelwerken in Deutschland auch, den Distanzklotz. Die Funktion des Distanzklotzes besteht darin, je nach Öffnungsart oder Bewegung des Flügels, zeitweise eine tragende Funktion zu übernehmen und zum anderen, den Abstand zwischen Glaskante und Falzgrund sicherzustellen.

Verschiedene Klotz-Funktionen

Es wurden in der europäischen Norm nun die Begriffe „optionaler“ und „erforderlicher“ Distanzklotz eingeführt, um die jeweilige Aufgabe des Distanzklotzes weiter zu unterscheiden. Der „optionale“ Distanzklotz soll im Wesentlichen den Kontakt von Rahmen zu Glas verhindern. Er soll keine Lasten übertragen. Entgegen der Bezeichnung „optional“ ist dieser Klotz aber dennoch verpflichtend einzusetzen (s. Grafiken 02 + 03).

Der „erforderliche“ Distanzklotz entspricht in seiner Funktion dem bisherigen Tragklotz.

Aus Sicht der deutschen Vertreter im Normungsausschuss ist diese Unterteilung absolut nicht erforderlich, sondern führt eher zur Verwirrung und birgt die Gefahr von Fehlern beim Einbau. Daher sollten Verarbeiter hier weiterhin den Vorgaben der deutschen Regelwerke folgen.

Neben den genannten Klotzarten gibt es nun auch sogenannte „Distanzstücke“. Diese werden zwischen Glasfläche (nicht der Glaskante) und Glashalteleiste zur Sicherung eines Mindestabstandes eingesetzt.

Eine weitere Variante eines Verglasungsklotzes sind sogenannte „temporäre“ Klötze. Diese werden zum Beispiel beim Transport von Glas eingesetzt, um ein Verrutschen der Glaseinheit, vor allem beim horizontalen Transport, zu verhindern.

Zu den Anhängen des Regelwerks ist zu ergänzen, dass diese informativ und nicht normativ sind. Bei vorliegenden nationalen Regelwerken können diese nationalen Vorgaben bevorzugt werden.

Neben den nationalen Regelwerken sind zusätzlich die Vorgaben der Glashersteller, im Rahmen der Gewährleistungsvoraussetzung, in jedem Fall zu beachten. In Anlage D werden Vorschläge beschrieben, wie bei geneigten Verglasungen die Ansammlung von Wasser- und Schneeanhäufung vermieden werden kann.

Das Fazit der Autoren

Der Einsatz von Glas erfordert in der Gegenwartsarchitektur eine detaillierte Planung der Fenster- und Fassadensysteme. Dabei werden in aller Regel auch Normen oder handwerklich geprägte Regelwerke herangezogen. Für den jeweiligen Verwendungszweck sollte der Verarbeiter auf alle Fälle deren Anwendung prüfen und an die Situation vor Ort genau anpassen.

Eine ausführlichere Beschreibung zum Thema Verglasung und der europäischen Normung sowie ein erster Vorschlag zu rechnerischen Bewertung der Klotzabstände wurde anlässlich der „glasbau 2015“ an der TU Dresden vorgestellt und ist auch in dem begleitend dazu erschienenen Buch „Glasbau 2015“ des Ernst und Sohn Verlags veröffentlicht. Dort finden Interessierte einen ersten Ansatz zur rechnerischen Bewertung der Klotzung.—

Die Autoren

Lutz Wiegand , Ingenieurbüro für Glas im Bauwesen, Hofheim am Taunus, ö.b.u.v. SV für das Glaserhandwerk, SBS Normenexperte im CEN TC 129 „Glas in Gebäuden“.

Michael Elstner , Leiter des AGC Interpane Beratungscenters, ö.b.u.v. SV für das Glaserhandwerk und Inhaber des Büros Glasconsulting – Gutachten und Beratung für Glas im Bauwesen.

Jetzt weiterlesen und profitieren.

+ Glaswelt E-Paper-Ausgabe – jeden Monat neu
+ Kostenfreien Zugang zu unserem Online-Archiv
+ Fokus GW: Sonderhefte (PDF)
+ Webinare und Veranstaltungen mit Rabatten
uvm.

Premium Mitgliedschaft

2 Monate kostenlos testen

Tags