Springe auf Hauptinhalt Springe auf Hauptmenü Springe auf SiteSearch
Effiziente Nachtauskühlung

Ungebetene Gäste bleiben draußen

Fenster sind schon lange keine einfachen Bauteile mehr. Neben Licht geht es bei Fenstern um Sonneneinstrahlung oder Schutz vor zu viel Sonnenenergie oder um ­Mückenschutz. Bei den vielen warmen Tagen sind es jetzt auch Intensivlüftung und Nachtauskühlung.

Aber wer in der Nacht zum Kühlen die Fenster im Erdgeschoss weit öffnet, könnte ungebetene Gäste bekommen. Deshalb: Renson bietet das einbruchhemmende Lüftungsgitter 431 mit RC2-Zertifizierung. Tagsüber schützt es vor Sonne, Regen und ungebetenen Einblicken, nachts – im zum Kühlen geöffneten Zustand – vor Mücken und ungebetenen Gästen. Belgische WTCB-Tests zeigen, dass diese Gitter in der höchsten Sicherheitsklasse 5 eingestuft sind. Ebenfalls wichtig ist in den oberen Geschossen auch die Absturzsicherung von innen nach außen.

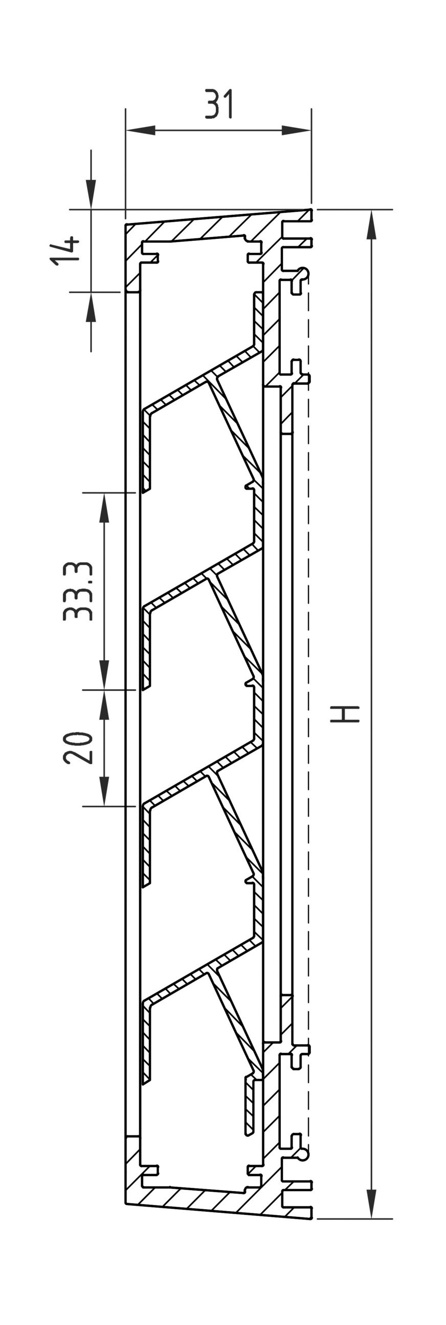
Die Produktsparte Linius von Renson basiert auf stranggepressten Aluminiumprofilen mit Lamellen unterschiedlicher Größe und Form. Je nach Ausstattung können diese Lamellen besonders gut vor Sonne schützen oder zum Beispiel Schall dämmen.

Hinter dem 431RC2-Alugitter verbirgt sich ein Fliegengitter und ein hoch gedämmter Fensterflügel.

Foto: Renson

Hinter dem 431RC2-Alugitter verbirgt sich ein Fliegengitter und ein hoch gedämmter Fensterflügel.

Jetzt weiterlesen und profitieren.

+ Glaswelt E-Paper-Ausgabe – jeden Monat neu
+ Kostenfreien Zugang zu unserem Online-Archiv
+ Fokus GW: Sonderhefte (PDF)
+ Webinare und Veranstaltungen mit Rabatten
uvm.

Premium Mitgliedschaft

2 Monate kostenlos testen

Tags