Springe auf Hauptinhalt Springe auf Hauptmenü Springe auf SiteSearch
Holz-Glas-Klebeverbund im Fensterbau — Aspekte und Hinweise für einen Eignungsnachweis — Teil 1

Die Klebetechnik hält auch im Holz-Fensterbau Einzug

Das Glas-Kleben ist grundsätzlich nichts Neues und wird z. B. in der Autoindustrie seit Jahrzehnten erfolgreich eingesetzt. Im Bauwesen und speziell im Fassadenbau sind Glas-Metall-Verklebungen auf Silikonbasis bei Structural-Glazing-Fassaden bewährte Konstruktionen.

Im Holz-Fenster-Bau ist das Holz-Glas-Kleben zwar eine neue Technologie, doch wurden schon z. B. bei Einfach- und Kastenfenstern die Gläser mittels Kittphase allseitig in einem sehr schlanken Flügelprofil eingespannt und somit zur Aussteifung genutzt. In der Entwicklung des Holz-Isolierglasfensters wird bis heute ausschließlich die Verklotzung der Glasscheibe zur Positionierung im Flügelrahmen, aber auch zur geringfügigen Aussteifung des Flügelrahmens durchgeführt. Nachteil der Verklotzung ist die punktförmige Einleitung von Lasten und des damit verbundenen Risikos von Spannungsspitzen und daraus folgend Glasbruch. Durch das Kleben des Glases können die Lasten linienförmig in das Glas eingeleitet, Spannungsspitzen vermieden und damit wesentlich höhere Lasten übertragen werden (Bild 1).

Die ersten Entwicklungen von Holz-Glas-Fensterkonstruktionen mit Klebetechnik in den 90er-Jahren wiesen unisono mechanische Verbindungsmittel auf. Dies bedingte in der Regel sehr aufwändige Konstruktionsdetails. Um die Klebetechnologie nutzen zu können, wurden in späterer Folge Gläser auf Metalladapter geklebt und mechanisch im Holzflügelrahmen befestigt. In den letzten Jahren wurde das direkte Kleben des Glases auf das Holz von der Forschungsseite so weit aufbereitet, dass erste Umsetzungen in marktreifen Konstruktionen erfolgt sind.

Warum verklebte Verglasungssysteme?

Die Fragestellung, warum verklebte Verglasungssysteme und nicht bei der bewährten Klotzung bleiben, lässt sich anhand von drei Beispielen erläutern:

  • Architektur: Eine Holz-Glas-Fensterkonstruktion bietet dem Hersteller die Möglichkeit eines völlig neuen Fensterdesigns, bei gleichzeitiger Wartungsfreiheit der bewitterten Fensteroberflächen. Durch dieses neue Design besteht für die Branche die Möglichkeit, einen Imagewandel des Holzfensters durchzuführen.
  • Aussteifung: Durch den Klebeverbund können wesentlich höhere Lasten in das Glas eingeleitet und die Glasscheibe zur Aussteifung der Gesamtkonstruktion herangezogen werden. Insbesondere in Hinblick auf die immer größer werdenden Fensterelemente ist dies ein entscheidender Vorteil, gepaart mit der Möglichkeit der Reduktion von Flügelprofilquerschnitten.
  • Wirtschaftlichkeit: Bei materialgerechten Konstruktionen und Umsetzung der fertigungstechnischen Möglichkeiten ergibt sich eine äußerst wirtschaftliche Fenstergeneration.

Voraussetzung, dass diese Zukunftstechnologie am Markt Fuß fassen wird, ist jedoch die Langlebigkeit der Klebeverbindung sicherzustellen. Deshalb sind allen Aspekten der Gebrauchs-tauglichkeit und Dauerhaftigkeit, sowohl der Klebstoffverbindung als auch der gesamten Fensterkonstruktion, höchste Prioritäten einzuräumen.

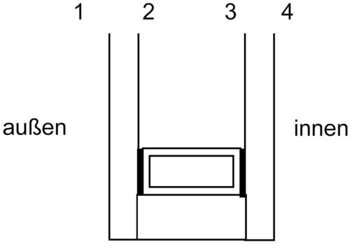
Glaspositionen

Grundsätzlich gibt es vier Möglichkeiten bei einer Isolierglasscheibe eine tragende Verklebung auszuführen(Bild 2).

Darüber hinaus besteht noch die Möglichkeit einer Falzgrundverklebung, wobei hier insbesondere die Verträglichkeit mit dem Randverbund zu beachten ist und aufgrund der geringeren Klebstoffgeometrie in der Regel auch geringere Lasten übertragen werden können.

Konstruktionsvarianten

Aufbauend auf die möglichen Positionen der Glasverklebung ergibt sich eine Vielzahl von Konstruktionsvarianten. In Bild 3 sind einige Beispiele wiedergegeben.

Bild 3A zeigt die Verklebung des Isolierglases auf der Innenseite auf der Glasposition 4 sowie eine Klotzung der beiden Glasscheiben. In diesem Fall wird die Flügelaussteifung durch die innere Glasscheibe übernommen, die Lastabtragung des Glases durch die vorhandene Klotzung.

Bild 3B zeigt eine Stufenisolierverglasung, die sowohl auf Position 2 als auch Position 4 mit dem Holzrahmen verklebt ist. Bei dieser Variante wird sowohl die Flügelaussteifung als auch die Lastabtragung durch die Holz-Glas-Verklebung übernommen.

Bild 3C zeigt eine Isolierglasscheibe, welche auf der Rauminnenseite auf Position 4 mit dem Holzrahmen verklebt ist. In diesem Fall wird sowohl die Aussteifung als auch die Lastabtragung über die Holz-Glas-Klebeverbindung durchgeführt, aber auch die Lastabtragung der äußeren Glasscheibe zur inneren Glasscheibe durch einen statisch tragenden Randverbund (gemäß EN 13022-1) gewährleistet.

Anhand dieser drei Beispiele (die noch durch unzählige weitere Varianten ergänzt werden könnten) soll aufgezeigt werden, welche statischen Aspekte bei der Konstruktion von Holzfenstern mit geklebten Verglasungssystemen berücksichtigt werden müssen. Im Besonderen zählen dazu die auftretenden Windsog- und -druckkräfte, die Aussteifung des Flügelrahmens in Glasscheibenebene und die Lastabtragung des Eigengewichtes der Glasscheiben. Insbesondere dem Langzeitverhalten der Klebeverbindung (Kriechen) ist dabei größtes Augenmerk zu schenken.

Öffnungsart und Absturzsicherung

Die Öffnungsart des Fensters und die Lagerung der Glasscheibe im Fensterrahmen erfordern eventuell zusätzliche Maßnahmen zur Absturzsicherung der Verglasung. Innen öffnende Fenster, deren Verglasung in geschlossenem Zustand durch den Überschlag des Blendrahmens (Stockprofil) vierseitig (mindestens jedoch zweiseitig) linienförmig gelagert ist, bedürfen keiner zusätzlichen Absturzsicherung. Ist eine Lagerung im Blendrahmen (Stockprofil) nicht mehr gegeben, z. B. außen aufgehende Fenster, ist jedenfalls eine Absturzsicherung für das Verglasungssystem notwendig.

Die konstruktive Vielfalt bei geklebten Verglasungssystemen im Holzfensterbau ist extrem groß. Aus diesem Grund ist es enorm schwierig allgemein gültige Konstruktionsregeln für jegliche mögliche Konstruktionsvarianten zu erstellen. Zur Zeit sind die jeweiligen Konstruktionen durch entsprechende Prüfungen bestmöglich abzusichern, um eine ausreichend lange Lebensdauer und Gebrauchstauglichkeit der Klebeverbindung und des gesamten Fenstersystems zu gewährleisten.

Das andere Kleben

Seit den frühen 90er-Jahren wird auf dem Gebiet des Holz-Glasverbundes Forschung betrieben. Die Idee dahinter war primär das Glas im konstruktiven Holzbau als mittragendes, aussteifendes Element einzusetzen. Bei diesen Forschungsvorhaben wurden in erster Linie bestehende Klebstoffsysteme aus anderen, verwandten Bereichen eingesetzt. Probleme bei der Evaluation der Klebstoffe für die Verklebung des Glases mit dem Holz bereiteten vor allem die ungenügende Kenntnis der Anforderungen an die Klebstoffe. In der Zwischenzeit sind diese Anforderungen durch verschiedene Forschungsvorhaben und Umsetzungen besser bekannt. Auf dieser Basis wurden in den letzten Jahren im Hinblick auf den Einsatz im Fensterbau Klebstoffe modifiziert oder neu entwickelt.

Die dargestellte Vielfalt der möglichen Fensterkonstruktionen spiegelt sich in den Anforderungen an die Klebstoffe wider. Entsprechend sind je nach Aufgabe der Klebefuge unterschiedliche Eigenschaften gefragt. Um beurteilen zu können, welcher Klebstoff geeignet ist, muss die Fensterkonstruktion zumindest in groben Zügen bekannt sein. Bei der Evaluation des Klebstoffes muss der Fensterhersteller außerdem wissen, was er mit dem Klebeverbund erreichen will. Nicht immer stehen dabei die statischen Verbesserungen im Vordergrund. Die aussteifende Wirkung des Klebeverbundes in der Scheibenebene oder die Verbesserung der Biegesteifigkeit der Stulpmittelpartie kann durchaus nur eine positive Randerscheinung sein. Möglicherweise liegt das Hauptaugenmerk bei einer bewusst veränderten Optik und Ästhetik des Fensters oder die Verklebung hilft mit, den Fertigungsprozess optimaler und damit günstiger zu gestalten. Ein weiterer Aspekt liegt in einer möglichen Materialkosteneinsparung.

Diese Betrachtungen führen zu einem komplexen Anforderungsprofil an die Klebung, welches von den angebotenen Klebstoffen mit ihren Leistungsmerkmalen unterschiedlich erfüllt werden kann.

Die Eigenschaften des Klebstoffes und der Klebung können grob wie nachfolgend eingeteilt werden:

  • Eigenschaften für die Dauerhaftigkeit der Klebung,
  • konstruktive Eigenschaften der Klebung,
  • Eigenschaften für die Verarbeitung des Klebstoffes im Fertigungsprozess.

wird fortgesetzt

Der Beitrag basiert auf einem Vortrag, der von den Autoren auf den Rosenheimer Fenstertagen gehalten wurde.

Karin Lieb, Klaus Peter Schober, Urs Uehlinger

Autoren

Karin Lieb, Dipl.-Ing. (FH), ist seit Juni 2005 stellvertretende Leiterin der akkreditierten Prüfstelle für Glasprodukte am ift Rosenheim.

Urs Uehlinger, Dipl.-HTL-Ing. ist Leiter der ­Forschungseinheit Product Engineering an der Berner Fachhochschule für Architektur, Holz und Bau in Biel. Forschungsschwerpunkte: Fenster, Türen, Bauelemente, Möbel.

Klaus Peter Schober, Dipl.-HTL-Ing., arbeitet unter anderem in zahlreichen nationalen und internationalen Normenausschüssen, ist Mitarbeiter der Holzforschung Austria sowie Lehrbeauftragter an der TU Wien.

Jetzt weiterlesen und profitieren.

+ Glaswelt E-Paper-Ausgabe – jeden Monat neu
+ Kostenfreien Zugang zu unserem Online-Archiv
+ Fokus GW: Sonderhefte (PDF)
+ Webinare und Veranstaltungen mit Rabatten
uvm.

Premium Mitgliedschaft

2 Monate kostenlos testen