Springe auf Hauptinhalt Springe auf Hauptmenü Springe auf SiteSearch
Kühlwasseraufbereitung von Bohle

“Der Schlüssel ist die Wasserqualität“

Egger Glas, ein Unternehmen mit 200 Mitarbeitern, produziert Sicherheits- und Isoliergläser. Mehr als 125000 m Glaskanten durchlaufen jährlich die Kreuzbandschleifanlage, die Waschanlage und vor allem die zwei 8-Spindel-Kantenschleifautomaten sowie den 14-Spindel-Automaten in den Produktionsstätten Gersdorf und Ilz. Jetzt wurden die Schleifmaschinen mit Bohle-Wasseraufbereitungsanlagen ausgerüstet. Im ersten Schritt wurde für einen 8-Spindel Kantenschleifer mit dem 300-Liter-Sedimentor das kleinste Modell von Bohle in den Testbetrieb genommen. Im zweiten Schritt erfolgte dann für den 14-Spindel-Automaten (Durchsatz mehr als 60000 m Glaskanten im Jahr) die Anschaffung eines 2400-Liter-Sedimentors.

„Der Schlüssel ist die Wasserqualität. Da das Kühlwasserreinigungssystem im Testbetrieb gezeigt hatte, dass Mann- und Maschinenstunden eingespart werden können, war für uns die logische Konsequenz auch für den 14-Spindel Kantenautomaten einen Sedimentor anzuschaffen“, so Betriebsleiter Erich Pribek. „Durch die bessere Qualität des Wassers im Kühlkreislauf verschmutzt die Anlage viel weniger und wir erreichen deutlich längere Standzeiten bei Schleifscheiben. Zudem verlängert der reduzierte Wartungsaufwand die Wartungsintervalle. So sparen wir Zeit und Personalkosten bei der Reinigung der Wassertanks“.

Auch der neue 8-Spindel-Kantenautomat am Standort wurde jetzt mit einem 300-Liter-Sedimentor ausgerüstet.

Nicht nur die Betriebsleitung, versichert Erich Pribek, sondern auch die Bediener der Maschine, seien von den Systemen überzeugt, denn die geringere Verschmutzung führe zu einfacherem Reinigen der kompletten Anlage. Zudem, so die Bediener der Maschinen, seien die Diamantschleifbänder merkbar aggressiver beim Schleifen und der Abtrag durch das saubere Kühlwasser sei deutlich besserer.

So arbeiten die Sedimentoren

Die Sedimentoren funktionieren in zwei Schritten: der grobe Glasstaub setzt sich im Durchlauf permanent durch optimale Behälterkonstruktion und Einbauten ab (effektive Sedimentation). Danach erfolgt eine Klärung der Feinbestandteile im Chargenprozess. Dabei bindet die Anlage in einem automatisierten Zyklus mithilfe eines optimierten Flockungsmittels auch feinste Glaspartikel und erzeugt nahezu klares Systemwasser.

Grundsätzlich arbeiten die Sedimentoren in einem 2-Stufen-System: Grobe Glaspartikel setzen sich im Durchlauf permanent durch die Behälterkonstruktion und Einbauten ab (effektive Sedimentation). Danach erfolgt eine Klärung der Feinbestandteile im Chargenprozess. Dabei bindet die Anlage in einem automatisierten Zyklus mithilfe eines optimierten Flockungsmittels auch feinste Glaspartikel und erzeugt fast klares Sys­temwasser. Als Flockungsmittel wird in den gegenwärtigen Anlagen ein Flockungspulver eingesetzt, das einfach zu handhaben ist und Überdosierungen vermeidet. —

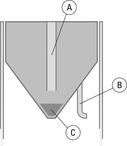
Funktionsweise

Das Schmutzwasser wird durch ein zentrales Rohr (A) nach unten geführt. Da die Schmutzpartikel eine höhere Dichte als das Wasser haben, setzen sie sich unten ab (C). Damit werden bis zu 70 % der Glaspartikel sedimentiert. Und durch den Klarwasserrücklauf (B) wird das gereinigte Wasser wieder dem Kantenautomaten zugeführt.

https://www.bohle.com/de-DE


Jetzt weiterlesen und profitieren.

+ Glaswelt E-Paper-Ausgabe – jeden Monat neu
+ Kostenfreien Zugang zu unserem Online-Archiv
+ Fokus GW: Sonderhefte (PDF)
+ Webinare und Veranstaltungen mit Rabatten
uvm.

Premium Mitgliedschaft

2 Monate kostenlos testen

Tags