Springe auf Hauptinhalt Springe auf Hauptmenü Springe auf SiteSearch
News

Aktualisierte Beschlagrichtlinie erfordert neue Prüfungen bei schweren Fenster

Die gute Nachricht für Fensterbauer: Bereits vorhandene Prüfergebnisse für aufliegende Beschläge, die an Fenster-Flügeln bis 150 kg eingesetzt werden, bleiben unverändert gültig . Erneute Prüfungen sind bis zu dieser Flügelmasse nicht erforderlich. Bei Flügelmassen größer 150 kg und beim Einsatz von verdeckt liegenden Ecklagern werden jedoch neue Prüfungen entsprechend den überarbeiteten Anforderungen der verbesserten TBDK erforderlich.

Neue Grenze bei 150 kg maximaler Flügelmasse
Im neuen Kapitel 4 werden die Grenzen der Richtlinie beschrieben. Bis zu einer maximalen Flügelmasse von 150 kg kann wie bisher die nach der europäischen Norm EN 13126-8, QM 328 oder RAL-GZ 607/3 ermittelte Dauerfunktionsfähigkeit der Beschläge auf den Einsatz in Fenstern und Fenstertüren übertragen werden.

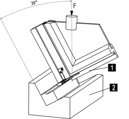
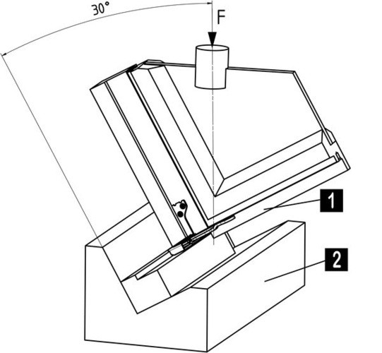
Eck-Prüfungvorrichtung mit Scherenlager
Eck-Prüfungvorrichtung mit Scherenlager
Voraussetzung hierfür ist die Einhaltung der Vorgaben in der Beschlagdokumentation (insbesondere der Anwendungsdiagramme) und der Festlegungen der TBDK. Für Flügelmassen > 150 kg haben die Erfahrungen aus den zurückliegenden Jahren gezeigt, dass die Ergebnisse aus Dauerfunktionsprüfungen des Beschlages nicht mehr allein durch das bisherige Verfahren auf den Einsatz in Fenstern und Fenstertüren übertragen werden kann : Der Hersteller von Fenstern und Fenstertüren muss den Nachweis zur Bestimmung des Widerstandes seiner Fenster oder der Fenstertüren bei wiederholtem Öffnen und Schließen nach EN 1191 führen.

Weiter wurden die Beschreibungen zu Prüfabläufen und Annahmekriterien detailliert und erweitert. Im erweiterten Kapitel 6 werden mit Blick auf eine bessere Reproduzierbarkeit sowohl Prüfabläufe und erforderlichen Probekörper als auch die Annahmekriterien detaillierter beschrieben. Die Ecklager-Prüfung wurde komplett neu entwickelt. Bei technischer Vergleichbarkeit von aufliegenden Scheren- und Ecklagern kann aber nach wie vor bei Flügelmassen bis maximal 150 kg auf eine Prüfung des Ecklagers verzichtet werden.

Handlungsbedarf für Hersteller von Fenstern und Fenstertüren

Bereits vorhandene Prüfergebnisse für aufliegende Beschläge, die an Flügeln bis 150 kg eingesetzt werden, bleiben unverändert gültig. Erneute Prüfungen sind nicht erforderlich. Bei Flügelmassen > 150 kg und beim Einsatz von verdeckt liegenden Ecklagern werden jedoch Prüfungen entsprechend den überarbeiteten Anforderungen der neuen TBDK erforderlich.

Die Richtlinie kann kostenlos in 25 Sprachen auf der Homepage der Gütegemeinschaft Schlösser- Beschläge e.V., zu erreichen unter www.beschlagindustrie.de, heruntergeladen werden.

Kontakt
Gütegemeinschaft Schlösser & Beschläge e. V.:
Martin Bürgel, Technischer Geschäftsführer
buergel@piv-velbert.de
www.fvsb.de

Die beteiligten Institutionen

An der umfangreichen Revision der Richtlinie haben unterschiedliche Institutionen und Prüfinstitute mitgearbeitet und dabei ihr Know-how mit eingebracht:
  • Fachverband der Schloss- und Beschlagindustrie e.V., Velbert
  • RAL-Gütegemeinschaft Kunststoff-Fensterprofilsysteme e.V., Bonn
  • PIV Prüfinstitut Schlösser und Beschläge, Velbert
  • ift Institut für Fenstertechnik, Rosenheim
  • Technischer Ausschuss des VFF, Frankfurt

Tags