Springe auf Hauptinhalt Springe auf Hauptmenü Springe auf SiteSearch
Sonnenschutz und Photovoltaik

Attraktives Zusammenspiel

_ Das neue fünfgeschossige Bürogebäude des Bonneshof Office Centers B.O.C. in Düsseldorf wurde Anfang 2014 fertiggestellt. Die zweischichtige Fassade mit ihrer Optik aus schachbrettähnlich angeordneten Rechtecken ist durch einen regelmäßigen Rhythmus aus Glaselementen mit vorgehängten Sonnenschutzpaneelen und Photovoltaikmodulen geprägt. Abgestimmt auf Himmelsrichtung, Sonneneinstrahlung und Innenraum wurden schwarze „Photovoltaikgläser“ und weiß bedruckte „Sonnenschutzgläser“ eingesetzt.

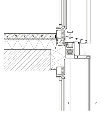
Dabei kamen verschiedene Fassadenvarianten auf Basis des Schüco Aluminiumsystems AWS 75 BS.HI als Sonderkonstruktion zum Einsatz. Der U-Wert der Gesamtfassade liegt bei 1,3 W/(m2K), der des Glases bei 1,0 W/(m2K). Das Fassadensystem basiert auf einem Grundmodul bestehend aus zwei raumhohen Fensterelementen mit zu öffnenden Fensterflügeln mit Öffnungsbegrenzung in der inneren, thermisch wirksamen Schicht sowie den vorgesetzten, transluzenten Sonnenschutz- bzw. Photovoltaikpaneelen in der äußeren Schicht. Innerhalb der Rahmensonderkonstruktion sind zusätzliche Sonnenschutzmaßnahmen in Form von außen liegenden Raffstores integriert.

Eine Herausforderung bestand in der anspruchsvollen Entwicklung des Rahmens der Photovoltaikelemente, da sowohl eindringendes Wasser abgeführt werden musste als auch eine verdeckt geführte Verkabelung erforderlich war.

Im Falle der Sonnenschutzgläser wurde die Rückseite der äußeren Glasscheibe entsprechend des Architektenentwurfs mit einem weißen Muster digital bedruckt. Bei den Photovoltaik‑gläsern befinden sich zwischen den Glasscheiben die eingebetteten Photovoltaikzellen. Eine für den optischen Eindruck entscheidende Besonderheit ist die Verwendung von im Farbton „Dark Grey“ durchgefärbtem Rückglas. Das Tageslicht scheint zwischen den Zellen wie durch eine Sonnenbrille hindurch ohne zu blenden, während von außen jedoch ein opaker Eindruck der Gläser entsteht.

Insgesamt wurden 114 bauwerkintegrierte Photovoltaikmodule von Schüco mit einer Fläche von etwa 500 m2 verbaut. Die Gesamtnennleistung der Anlage in der vertikalen Fassadenhülle beträgt 63 kWp. Die modulare Bauweise der Elementfassade ermöglichte eine maximale Vorfertigung bis hin zur Verkabelung der einzelnen Fassadenbausteine im Werk der Firma Haskamp Metallbau und Fassadentechnik. Vor Ort mussten die Elemente lediglich an den Platten des Stahlbetonskelettbaus fixiert werden, was zu einer Montagedauer von lediglich acht Wochen führte. Architektonisch ausdrucksvoll und technisch hochleistungsfähig ist die Fassade ein gelungenes Beispiel für die Ausnutzung der vertikalen Fassadenflächen zur Erzeugung regenerativer Energie. —

https://www.schueco.com/de

Bautafel

Bauherr/Investor: Nordrheinische Ärzteversorgung, Düsseldorf

Fassadenberater : IFF Ingenieurgesellschaft für Fenster- und Fassadentechnik GmbH, Haan

Fassadenplanung und -verarbeitung : Haskamp GmbH & Co. KG Metall- und Elementbau, Edewecht

Fassadentyp : AWS 75 BS.HI als Sonderkonstruktion in Elementfassadenausführung

Photovoltaik : bauwerkintegrierte Photovoltaik BIPV von Schüco, monokristallin, schwarz