Springe auf Hauptinhalt Springe auf Hauptmenü Springe auf SiteSearch
Geländersystem Vetromount

In 3 Schritten zum fertigen Glasgeländer

Monteure freuen sich, wenn der Einbau eines Glasgeländers sowohl intuitiv als auch möglichst zeitsparend von der Hand geht. Basierend auf diesen Anforderungen wurde das VetroMount Geländersystem von Bohle entwickelt, dass zudem über ein AbP verfügt.

So wird das System montiert: Die patentierten und vormontierten Glaslager werden im gleichmäßigen Abstand auf 1 Meter in das Profil eingelegt und die Glasscheibe darin eingesetzt, danach erfolgt die Montage in drei intuitiven Schritten:

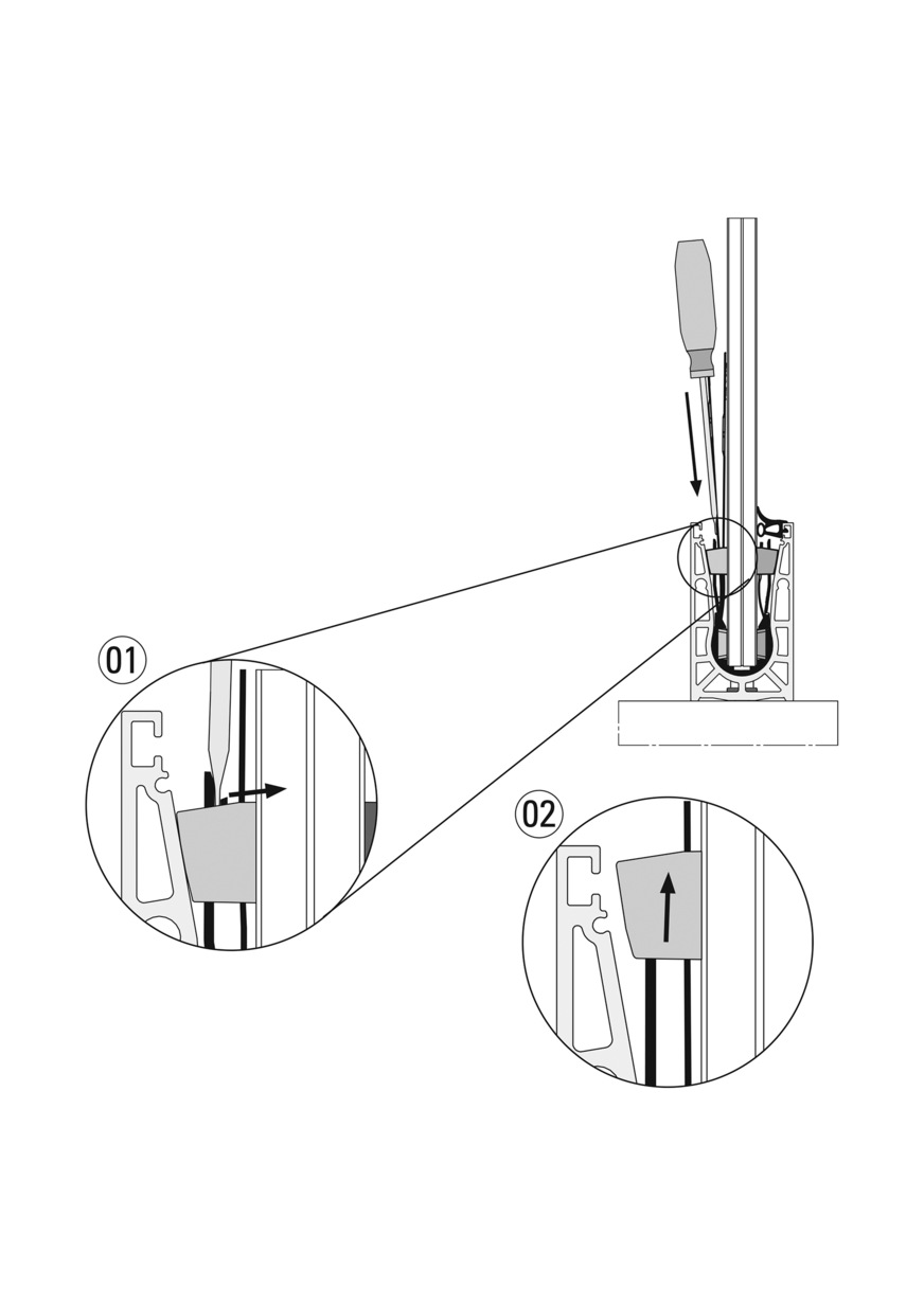
  • 01: Die Scheibe im Glaslager mit jeweils zwei Fixierkeilen einklemmen.
  • 02: Die Neigung der Scheiben werkzeuglos per Hand einstellen.
  • 03: Mit einer einfachen Zug-Druck-Bewegung – basierend auf der Idee des Kabelbinderprinzips – die Glasscheiben im Profil sicher verankern. Fertig!
  • Alle Einstellungen werden dabei komfortabel von der absturzabgewandten Seite aus ausgeführt. Die leichte und werkzeuglose Justierung bringt nicht nur bei großen Scheiben eine enorme Arbeitserleichterung und Zeitersparnis.

    Einfacher Austausch möglich

    Sollte eine Scheibe ausgewechselt werden müssen, ist das leicht möglich. Dafür wurde ein cleverer Lösemechanismus entwickelt, der die einfache Demontage ermöglicht.

    Dazu lässt sich der innere Spannkeil durch Zurückdrücken der integrierten Rastung einfach entriegeln und lösen. Dann kann der Monteur die Scheibe komplett in einem Stück ausbauen und ein neues Glas einsetzen. Fertig. 

    01: Werkzeuglose Justierung: Zwei Fixierkeile verankern die Scheibe sicher im Lager und müssen dafür nur manuell festgesetzt werden. Nun kann der Monteur ganz ohne Werkzeug die Scheibe ausrichten. Alle Glaslager bewegen sich dabei wie in einem Scharniergelenk simultan vor und zurück. Die Justierung erfolgt dabei komfortabel mit Hand und Augenmaß, alles ohne großen Kraftaufwand.

    Foto: Bohle

    01: Werkzeuglose Justierung: Zwei Fixierkeile verankern die Scheibe sicher im Lager und müssen dafür nur manuell festgesetzt werden. Nun kann der Monteur ganz ohne Werkzeug die Scheibe ausrichten. Alle Glaslager bewegen sich dabei wie in einem Scharniergelenk simultan vor und zurück. Die Justierung erfolgt dabei komfortabel mit Hand und Augenmaß, alles ohne großen Kraftaufwand.
    02 + 03: Schnell verankert und gesichert: Nach der Ausrichtung des Glases kommen die Spannkeile zum Einsatz. Sie sind über ein Zugband miteinander verbunden und werden werkzeuglos über dieses mit nur einem Handgriff im Glaslager verspannt. Der montageseitige Spannkeil wird nun von Hand festgedrückt, gleichzeitig zieht man am Zugband. Der absturzseitige Keil wird so festgezogen, beide Spannkeile rasten ein, die Scheibe sitzt fest im Profil.

    Foto: Bohle

    02 + 03: Schnell verankert und gesichert: Nach der Ausrichtung des Glases kommen die Spannkeile zum Einsatz. Sie sind über ein Zugband miteinander verbunden und werden werkzeuglos über dieses mit nur einem Handgriff im Glaslager verspannt. Der montageseitige Spannkeil wird nun von Hand festgedrückt, gleichzeitig zieht man am Zugband. Der absturzseitige Keil wird so festgezogen, beide Spannkeile rasten ein, die Scheibe sitzt fest im Profil.

    Leichte Revision

    Im Revisionsfall erlaubt ein Löse­mechanismus die einfache Demontage. Dazu kann der innere Spannkeil durch Zurückdrücken der integrierten Rastung (01) ganz einfach entriegelt und gelöst werden. Die Glasscheibe lässt sich nun komplett in ­einem Stück ausbauen (02).

    Foto: Bohle